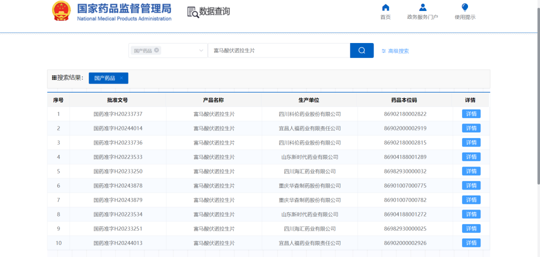
富马酸伏诺拉生(Vonoprazan Fumarate)是一种钾离子竞争性酸阻滞剂(P-CAB),其作用机制通过阻断H+/K+-ATP酶的K+通道,竞争性阻滞K+与该酶的结合,可长时间停留于胃壁细胞,从而快速抑制胃酸的分泌。主要用于治疗胃酸相关性疾病,包括反流性食管炎(RE)、胃溃疡、十二指肠溃疡等。 作为全新一代抑酸剂,较临床应用最广的质子泵抑制剂,富马酸伏诺拉生具有起效更快(首剂全效)、抑酸效果更持久、夜间抑酸效果更佳、黏膜愈合率更高等优势,已被中国《胃食管反流病专家共识(2020)》《胃食管反流病多学科诊疗共识(2022)》日本《胃食管反流病循证临床实践指南(2021)》等国内外权威指南和专家共识推荐。 该药品为国家医保2023版乙类药。药智网数据显示,2023年富马酸伏诺拉生片整体市场份额为4.39亿元。 根据国家药品监督管理局(NMPA)官网检索显示,截至目前,国内获得富马酸伏诺拉生片生产批文的企业仅有5家,分别是山东新时代药业、四川海汇药业、四川科伦药业、重庆华森制药、宜昌人福药业。其中,山东新时代于2022年7月顺利斩获首仿+首家过评。
伏诺拉生由武田研发,最早于2014年在日本获批上市,2019年底,富马酸伏诺拉生片在中国获批上市,用于治疗反流性食管炎,商品名为“沃克”,是国内首款获批的P-CABs。
四川省医药保化品质量管理协会党支部开
为庆祝中国共产党成立104周年,持..四川省医药保化品质量管理协会党支部召
四川省医药保化品质量管理协会党支..认真落实巡视组反馈意见,进一步规范协
按照四川省市场监督管理局党组巡视..关于相关收费标准的公示
根据四川省医药保化品质量管理协会..关于召开会长办公会的通知
各会长、副会长单位: 根据四川..四川省医药保化品质量管理协会组织召开
2025版《中国药典》将于2025年10月..四川省医药保化品质量管理协会召开第七
四川省医药保化品质量管理协会第七..“两新联万家,党建助振兴”甘孜行活动
为深入贯彻落实省委两新工委、省市..关于收取2025年度会费的通知
各会员单位: 在过去的一年里,..四川省应对新型冠状病毒肺炎疫情应急指
四川省应对新型冠状病毒肺炎疫情应..四川省应对新型冠状病毒肺炎疫情应急指
四川省应对新型冠状病毒肺炎疫情应..