5月12日,步长制药发布公告,称收到上海证券交易所对公司2018年年度报告的事后审核问询函,要求披露公司业务经营及模式、销售费用、业务毛利率及中药注射剂的行业政策风险等情况。
5月13日,步长制药股价跳水一度触及跌停,截至收盘,股价报24.41元,股价报24.41元,跌幅9.76%。总市值较上一个交易日减少了20多亿。

上交所问询函公告
上交所问询函件中显示,公司主营产品涉及中药注射剂,根据相关行业报道,近年来中药注射剂面临医保受限、辅助用药重点监控、注射剂上市后再评价等政策方面的挑战。上交所要求补充披露对公司经营具有重要影响的行业相关政策,并说明具体影响;结合上市前后的试验及审批情况,说明中药注射剂相关产品的疗效,自查是否存在媒体报道的不良反应或质量问题。
公开资料显示,步长制药主要从事中成药的研发、生产和销售,主要产品涉及心脑血管疾病中成药领域,同时也覆盖妇科用药等其他领域。公司研发培育出了脑心通胶囊、稳心颗粒和丹红注射液等多个独家专利品种,治疗范围涵盖中风、心律失常、供血不足和缺血梗塞等常见心脑血管疾病。
丹红注射液,是步长制药三个独家拳头产品中的“利润之王”。在步长制药的2018年年报中,由其拥有独家专利的丹红注射液累计销售超过9600万支,遥遥领先于步长制药的其他产品。
据步长制药招股说明书显示,其在2013年至2015年期间,丹红注射液的年销售金额分别高达41.61亿、38.31亿和33.6亿,合计113.52亿。收入占比超过30%,利润占比更稳居40%以上。不过,2016年上市成功后,步长制药没有继续披露丹红注射液的上述数据。
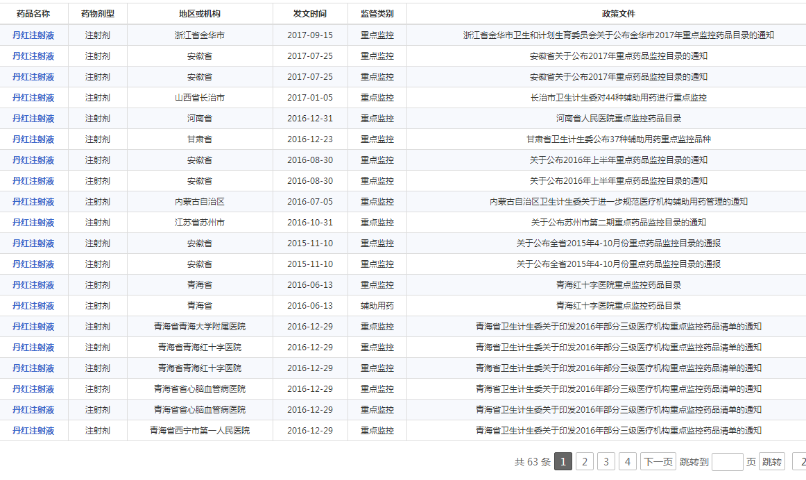
然而,在高销量背后,这款“明星药”却频现不良反应。据药智网数据显示,丹红注射液频频位列安徽、甘肃、河南、青海等多省、市卫计委或公立三甲医院的重点监控名单,累计26次被预警(严格监控)、限制使用。

药智网数据
按照上交所的要求,步长制药需要在5月22日之前披露对本问询函的回复,同时按要求对定期报告作相应修订和披露。
四川省医药保化品质量管理协会党支部开
为庆祝中国共产党成立104周年,持..四川省医药保化品质量管理协会党支部召
四川省医药保化品质量管理协会党支..认真落实巡视组反馈意见,进一步规范协
按照四川省市场监督管理局党组巡视..关于相关收费标准的公示
根据四川省医药保化品质量管理协会..关于召开会长办公会的通知
各会长、副会长单位: 根据四川..四川省医药保化品质量管理协会组织召开
2025版《中国药典》将于2025年10月..四川省医药保化品质量管理协会召开第七
四川省医药保化品质量管理协会第七..“两新联万家,党建助振兴”甘孜行活动
为深入贯彻落实省委两新工委、省市..关于收取2025年度会费的通知
各会员单位: 在过去的一年里,..四川省应对新型冠状病毒肺炎疫情应急指
四川省应对新型冠状病毒肺炎疫情应..四川省应对新型冠状病毒肺炎疫情应急指
四川省应对新型冠状病毒肺炎疫情应..